عبد الغني
🏠
الرئيسية
📰
المقالات
🚀
المشاريع
🔍
🌐 EN
🌙
🌸
🌅
🌊
☁️
👑
الرئيسية
/
المقالات
/
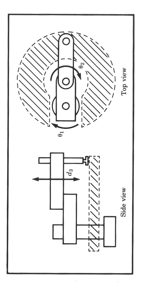
نماذج التحكم في الذراع الروبوتية الصناعي
📅 2026-04
⏱️ 8 دقائق
#روبوتات
#تحكم_صناعي
#حركية
#أتمتة
#هندسة_ميكانيكية
نماذج التحكم في الذراع الروبوتية الصناعية
العربية
English
📷 معرض صور المشروع
✕